欢迎来到 水利科技成果交易平台 !

一种水槽实验中水质点示踪装置

许可预估价 面议

  • 科技分类:水文预报与库群调度
  • 专利号:CN206058736U
  • 专利类型:实用新型专利
  • 交易模式:普通许可
  • 成果类型:仪器设备
  • 有效期:2021-06-08
  • 专利来源单位:河海大学
  • 本平台状态:未预订

定金 500.0

专利详情 交易流程

专利简介 / brief introduction

本实用新型属于实验装置领域,具体为一种水槽实验中水质点示踪装置,包括支架、横杆、以及示踪部件;所述支架安装于水槽上;所述横杆安装于支架上并可沿支架长边的长度方向滑动;所述示踪部件包括连接绳以及固定于连接绳上的示踪粒子;所述连接绳安装于横杆上并可沿横杆的长度方向移动。本实用新型结构简单、操作方便、使用灵活方便、成本低且示踪性能良好,能直接观测水槽波流场中任一水质点的运动轨迹。

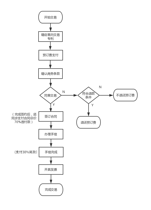
交易流程 / transaction flow